
اولین زمزمههای خودروی خودران اپل در سال ۲۰۱۴-۲۰۱۵ و در قالب پروژهی تایتان رسانهای شد و یک سال بعد ایلان ماسک (مدیرعامل تسلا موتورز) گفت اپل احتمالا یک خودروی الکتریکی جذاب خواهد ساخت و شایعات را بیش از هر زمان دیگری داغ کرد. این خودروها احتمالا شامل حسگرهایی هستند که امکان رانندگی خودکار را فراهم میکند و بعضی از این سنسورها برای ادغام با بدنهی پلاستیکی یا فایبرگلاس خودرو به یک دریچه یا بریدگی نیاز دارند. در پتنت ثبتشده در اداره ثبت اختراعات ایالات متحده، اپل راهحلهایی برای نحوه نصب و پیادهسازی این حسگرها در خودروی خودران (Apple Car) ارائه میدهد. یکی از مشکلات خودروهای خودران کنونی این است که از حسگرها و تجهیزات بسیار بزرگی استفاده میکنند که طراحی آنها را بهصورت نامأنوسی درآورده است. حال سؤال اصلی این است که چگونه میتوان حسگرها را به بهترین نحو پنهان و پیادهسازی کرد که به عملکرد آنها لطمهای وارد نشود؟ دقیقا همانطورکه اپل در آیفون برای ارائهی فیس آیدی مجبور به استفاده از ناچ شد؛ انتظار میرود همین رویه را برای Apple Car دنبال کند.

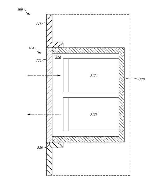
در اختراعی با عنوان «محفظه حسگر و پنلهای شیشهای برای محافظت از حسگر» اپل خودروی خودران را با یک بریدگی در قسمت جلویی توصیف میکند که با استفاده از پنل خارجی بدنه، به یک صفحهی شیشهای برای سنجش درجهی حرارت نوری متصل میشود. بنابراین بخشی از شاسی خودرو میتواند شامل آرایهای از سنسورها باشد که در پشت شیشه نصب شدهاند. این اختراع در ادامه راهحلهای جایگزین پیشنهاد میکند؛ از جمله نصب حسگر در سپر اتومبیل؛ اما مشکلی اصلی همچنان باقی خواهد ماند. اپل باید حسگرها را بهگونهای در خودرو جای دهد که بهصورت صحیح کار کنند و در برابر تأثیرات محیطی محافظت شوند.
اپل به این نکته اشاره میکند که این سنسورها میتوانند شامل دوربینهای طیف مرئی، دوربینهای مادون قرمز، امیترهای مادون قرمز و حسگرهای لایدار (LiDAR) باشند. بعضی از سنسورها که تحمل تخریب سیگنال ندارند، ممکن است هنگام عبور سیگنالهای ساطعشده یا دریافتشده از شیشه، پلاستیک یا سایر مواد انتقالدهنده با مشکل مواجه شوند. برای رفع این موضوع، گزینه جایگزینی وجود دارد که از سنسورها محافظت و امکان عبور سیگنالها را فراهم میکند. اپل توضیح میدهد که میتوان با استفاده از شیشههای موسوم به درجهی اپتیکال (Optical grade)، از تخریب سیگنال در برنامههای حسگر جلوگیری کرد.
اپل بهصورت غیر معمول، سازندگان حسگرها و اجزای دیگر این اختراع را مشخص کرده است. کوپرتینوییها شیشههای سطح اپتیکال، شامل n-BK7 ساخت شرکت Schott AG، شیشهی S-BSL7 ساخت شرکت اوهارا (Ohara) و در نهایت، شیشهی H-K9L ساخت شرکت CDGM Glass Company Ltd را برای آزمایش این اختراع استفاده کردهاند. این اختراع شامل نقشههایی است که چگونگی استفاده چنین شیشهای را در قسمت جلویی اپل کار نشان میدهد.

طراحیها و ترسیمهای مفهومی، مقیاس خاص خودروی آیندهی اپل را نشان نمیدهند؛ بنابراین تعیین اندازهی بریدگی برای پنهان کردن حسگرها تقریبا غیر ممکن است. درنتیجه محفظه میتواند به اندازهی ناچ استفادهشده در آیفون کوچک یا به اندازهی حسگر خودروی KITT (تصویر بالا) در «شوالیه سوار» بزرگ و گسترده باشد. اختراع یادشده را دو مخترع به نامهای کریستوفر دی-جونز و جیمز آر ویلسون به ثبت رساندهاند.
اپل بهصورت هفتگی اختراعات بیشماری ثبت میکند. ثبت اختراع نشاندهندهی موضوعات مورد علاقه تحقیق و توسعه شرکتها است؛ اما تضمینکنندهی ارائه آن در محصول یا خدمات نیست.
 
 		 	 
    
    
    
 
    
    در یادداشتی اختصاصی برای جام جم آنلاین مطرح شد
 
    
    در یادداشتی اختصاصی برای جام جم آنلاین مطرح شد
 
    
    عضو دفتر حفظ و نشر آثار رهبر انقلاب در گفتگو با جام جم آنلاین مطرح کرد
 
    
     
    
    کامران نجفزاده، از گزارشگری تا گفتوگوهای بیپرده در شبکه نسیم
 
    
    «جامجم» در گفتوگو با رئیس سازمان هواشناسی کشور بررسی کرد
